
点击上方蓝色字体,关注我们
2017年10月,马云宣布三年投入1000亿造“达摩院”,一时之间,“达摩院”受到广泛关注。
此后时不时就会爆出关于“达摩院”各种好消息,本以为这几年在阿里的努力下,“达摩院”的商标早已被其拿下。没想到,这商标申请的路如此漫长。
昨天,一条关于“阿里达摩院商标被驳回”热搜持续霸屏,让很多网友这才意识到阿里似乎并没有获得“达摩院”相关的商标。
1“达摩院”商标被驳回,原因在于……
阿里巴巴达摩院是一家致力于探索科技未知,以人类愿景为驱动力的,立足于基础科学、创新性技术和应用技术的研究院。
百度搜索“达摩院”也能找到其相关网站。

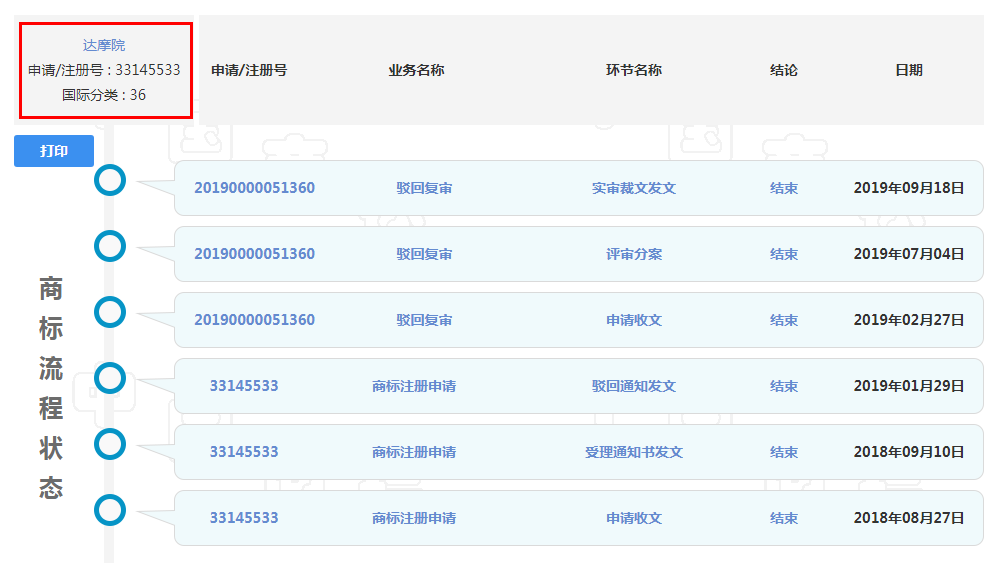
资料显示,阿里巴巴达摩院成立于2017年10月11日,也就在隔天,12日,阿里就申请了商标。
小编在商标局查询了申请记录,总共申请了27次,但绝大部分被驳回。
相关反馈主要有三:1、驳回复审中;2、等待实质审查;3、申请被驳回、不予受理等,该商标已失效。

△截图来自商标局
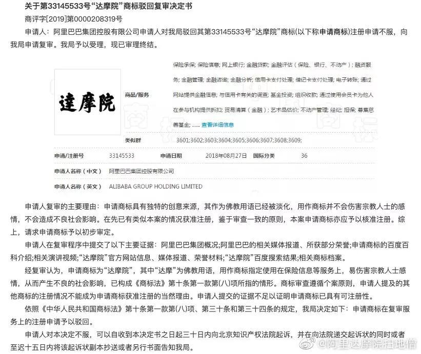
根据网上流传的一份《关于第33145533号“达摩院”商标驳回复审决定书》可以看到,阿里于2018年8月27日提交商标申请,用于金融保险、金融贷款等领域,今年年初被商标局驳回,随后阿里提交了驳回复审,仍被拒绝。
复审中被拒的理由是,“达摩院”中“达摩”为佛教用语,用作商标指定使用在保险信息等服务上,易伤害宗教人士感情,从而产生不良的社会影响。

△来源网络

△截图来自商标局
达摩是谁?为中国禅宗的始祖。
我国《商标法》早有规定,宗教或民间信仰的偶像名称、图形及其组合,不得作为商标。
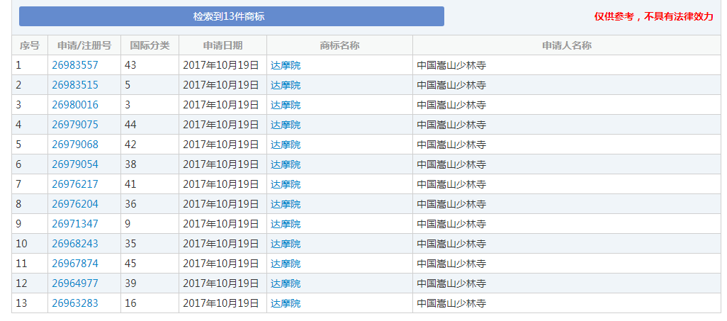
所以也难怪阿里申请会被驳回了,不过小编发现即使像中国嵩山少林寺这样的佛门圣地,申请“达摩院”商标也同样“无功而返”。

△截图来自商标局
另外,据新浪科技10月24日18点给出的消息,阿里方面对于商标被驳回的事情还没有做出回应,后续新动态小编也将持续为大家关注。

△截图来自微博
2网友在线取名
商标注册行就是行,不行就是不行。
试想如果阿里真的注册不了“达摩院”这个商标,那未来肯定得改名。
一直以来,阿里在取名字上都颇费心思,大多以动物名称命名,“天猫”、“蚂蚁金服”、“飞猪”、“菜鸟”、“闲鱼”、“盒马鲜生”等等。
当然一些不同画风的,例如芯片公司叫“平头哥”,芯片产品名字都是“含光”“玄铁”这样的上古神器。
所以,如果达摩院不能叫达摩院了,改什么名字就成了大家关心的问题。为此,有很多网友脑洞大开,纷纷给达摩院取起了新的名字。

△截图来自微博
小编也选取了几类,大家品品哪个最合适?
01类型一:武侠风
光明顶、黑木崖、紫霄宫、无极宫、轩辕殿、昆仑院、云宗

小编点评
阿里要求每个员工都给自己取一个“花名”,马云就是个十足的金庸迷,自己的花名也是《笑傲江湖》中神龙见首不见尾的华山派顶尖宿老——风清扬。
据说,前段时间金庸在杭州的房子要拍卖,很多网友还@马云,让他去买他偶像的房子呢。
小编猜“光明顶”、“黑木崖”这两个出自金庸小说的名字,马云应该会很喜欢哦~
02类型二:ins风
星宿海、摩摩达

小编点评
星宿海看名字就是一幅画;摩摩达貌似和一家按摩椅品牌重名了吧。
03类型三:卡通风
聪明屋

小编点评
一看到聪明屋,就忍不住想到金龟子,怎么回事?
04类型四:走实派
阿里会、阿里门、阿里园、马家庄

小编点评
阿里的各种组合词,是不是可以统统试一试,看哪个更好。
你喜欢哪个名字,可以在下方进行投票哦,或者说你有更好的可以在留言区给我们留言。
-----------------END-----------------
想要了解更多楼市资讯,欢迎扫描下方二维码或是搜索微信号(hz365-7),添加房博士秋小秋微信,备注“未来科技城”可进群交流。

限时领取2019杭州全景楼市地图进行中,
快来扫描下方二维码领取吧↓

未来科技城楼事热榜
1 闲林将纳入地铁四期规划范围?这2条线有望经过 火
2 未来科技城2.0板块“地王”规划方案出炉! 热
3 菜鸟二期来了、未来科技城要有“纽约中央公园”? 热
买房小帮手
↗最新摇号 ↗楼盘动态查询
↗房贷计算器↗




点击『阅读原文』查看更多楼市资讯
原创不易,点个“在看”再走吧~